Turbocharger operation
Caution
► Do not run the engine at high speeds (for example, by revving it or by accelerating
rapidly) immediately after starting it.
► Do not stop the engine immediately after high-speed or uphill driving. First allow
the engine to idle to give the turbocharger a chance to cool down.
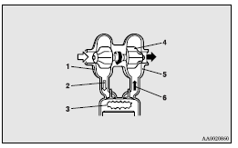
Turbocharger
The turbocharger increases engine power by pushing large amounts of air into the engine’s cylinders.
The finned parts inside the turbocharger turn at extremely high speeds and are subjected to extremely high temperatures. They are lubricated and cooled by engine oil. If the engine oil is not replaced at the specified intervals, the bearings may seize or emit abnormal noise.

1- Air compressor
2- Compressed air
3- Cylinder
4- Turbo fin
5- Turbine
6- Exhaust gas
See also:
Caution for installing the child restraint on vehicles with a front
passenger airbag
The label shown here is attached on vehicles with a front passenger airbag.
WARNING
• Extreme Hazard! Do not use a rearward facing child restraint on a seat protected
by an airbag in front of ...
How to fast forward/rewind the tape
Fast forward
Press the PROG button (4 or 5) that is in the same direction as shown by the
display (8) to fast forward.
Fast rewind
Press the PROG button (4 or 5) that is in the opposite directi ...
Display unit selection
Originally, km/h and L/100 km are selected. When you want to select the unit
“mile”, follow this procedure.
NOTE
For vehicles without MITSUBISHI genuine audio system, only the unit of averag ...
